• 方案介绍
  • 相关推荐
申请入驻 产业图谱

【代码库】在 FRDM-MCXN和A系列上运行电机控制器驱动器

4小时前
167
加入交流群
扫码加入
获取工程师必备礼包
参与热点资讯讨论

FRDM-HB2002ESEVM 电机控制器驱动器,带有在 FRDM-MCXN947 和 FRDM-MCXA153 上运行的演示应用程序

该演示应用程序提供了一个命令行界面,允许用户轻松探索驱动器的不同功能,以使用电机控制器功能,例如使用 PWMSPI 控制电机,使用两种输入模式 H 桥和半桥检查过压、欠压、过流等故障。

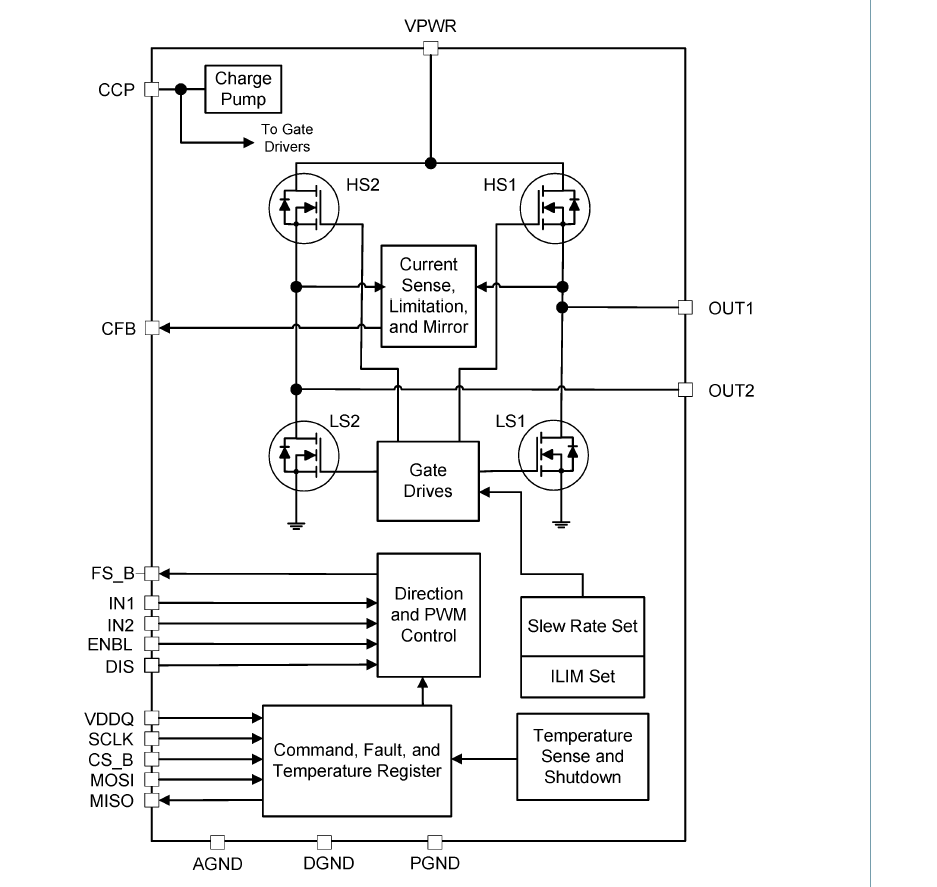
FRDM-HB2002ESEVM框图

FRDM-HB2002ESEVM电机控制器驱动器的主要特性

  • 通过串行外设接口 (SPI) 进行高级诊断报告:电荷泵欠压、过压、VPWR 欠压、每个输出的接地短路和 VPWR 短路、开路负载、温度警告和过热关断。
  • 通过 SPI 提供八种可选压摆率:0.25 V/μs 至 16 V/μs 以上,用于 EMI 和热性能优化
  • 可通过 SPI 选择四种电流限制:5.4/7.0/8.8/10.7 A,涵盖广泛的应用
  • 通过电流折返扩展高温工作范围,同时限制电流
  • 无需 SPI 即可运行,默认压摆率为 2.0 V/μs,电流限制阈值为 7.0 A
  • 以全 H 桥或半桥配置驱动电感负载
  • 宽工作范围:5.0 V 至 28 V 工作电压

主板:FRDM-MCXA153、FRDM-MCXN947

类别:电机控制

外设:ADC、GPIO、PWM、SPI

工具链:MCUXpresso IDE

目录

  1. 软件
  2. 硬件
  3. 设置
  4. 结果
  5. 常见问题解答
  6. 支持
  7. 发行说明

1.软件

2.硬件

3. 设置

3.1 步骤 1:下载并安装所需软件

3.2 步骤2:克隆APP-CODE-HUB/dm-frdmhb2002esevm-motor-control-driver-demo-app

  • 克隆此存储库以获取示例项目:
  • 将目录更改为克隆的项目文件夹:
    cd dm-frdmhb2002esevm-motor-control-driver-demo-app

?注意:?如果您使用 Windows 克隆项目,请使用以下命令配置文件名长度限制 git config --system core.longpaths true

3.3 步骤3:构建示例项目

  • 打开 MCUXpresso IDE 并选择一个目录来创建您的工作区。
  • 将适用于 FRDM-MCX947、FRDM-MCXA153 的 MCXUpresso SDK 2.14.x 安装到 MCUXpresso IDE 中(将 SDK zip 拖放到“已安装的 SDK”视图中)。
  • 转到“快速启动面板”并单击“从文件系统导入项目”,
  • 选择“项目目录(解压)”并浏览到克隆的项目文件夹。
  • 选择您想要打开并运行的示例项目。
  • 右键单击项目并选择构建以开始构建项目。

4. 测试应用步骤

  • 用户需要通过设备管理器连接主机 PC 和目标板之间的 USB 电缆后检查 COM 端口。

  • 打开安装在 Windows PC 上的 PUTTY/Teraterm 应用程序,波特率为 115200,并按照上述步骤分配 COM 端口。

  • 右键点击项目并选择“Debug As”,Demo 应用程序将以交互模式运行。运行成功后,您可以在终端上看到打印的日志。

注意:SPI 控制器默认工作在中断模式,要切换到 EDMA 模式,更改:

board/RTEDevice.h 中 RTESPI1DMAEN 为 1,用于 SPI

4.1 日志结果

主菜单将如下所示

按#1设置PWM

  • 设置PWM有两个选项:
    • 按 #1 从头设置 PWM 通道

按 #2 停止 PWM

  • 通过按下选项 2,用户可以停止 PWM,停止 PWM 后,电机停止。

按 #3 获取设备 ID

  • 通过按选项 3,用户可以获取设备 ID。

按#4 进入 FS_B 控制

  • FS_B 控制有四个选项:
    • 按#1 启用 FSB(当故障发生时,FSB 变为活动状态)


    Enable FSB 有十三个选项:

    用户可以选择任何可用选项来让 FS
    B 引脚跟踪所选的故障状态,选项 13 用于退出启用 FS_B 菜单。

    • 按 #2 禁用 FS_B


    禁用 FSB 有十三个选项:

    用户可以选择任何可用选项来使 FS
    B 引脚不遵循所选故障状态,并且选项 13 用于退出禁用 FS_B 菜单。

    • 按#3读取FS_B引脚


    通过按选项 3,用户可以读取 FS_B 引脚状态。

    • 按#4退出FS_B控制菜单


    通过按下选项 4,用户可以退出 FS_B 控制菜单。

按#5检查故障状态

  • 通过按选项 5,用户可以检查可用的故障。

按#6清除故障状态

  • 清除故障状态有十三个选项:

    用户可以选择任何可用选项来清除所选故障状态,选项 13 用于退出清除故障状态菜单。

按#7 过压保护控制

  • 过压保护控制有两种选择:
    • 按#1 启用过压保护

    • 按 #2 禁用过压保护


    禁用过压保护后,hb2002 将仅生成 OV(过压)警告。

按#8 使用SPI控制电机

  • 使用 SPI 的电机控制有七种选择:

    • 按#1 启用通过 SPI 控制电机
      通过按下选项 1,用户可以通过 SPI 启用电机控制。
    • 按 #2 禁用过压保护
      通过按下选项 2,用户可以通过 SPI 禁用电机控制。
    • 按#3设置虚拟输入一(VIN1)
      通过按选项 3,用户可以通过 SPI 设置虚拟输入一。
    • 按#4清除虚拟输入一(VIN1)
      通过按下选项 4,用户可以通过 SPI 清除虚拟输入一。
    • 按 #5 进入虚拟输入二 (VIN2)
      通过按选项 5,用户可以通过 SPI 设置虚拟输入二。
    • 按#6清除虚拟输入二(VIN2)
      通过按下选项 6,用户可以通过 SPI 清除虚拟输入二。
    • 按#7退出
      通过按下选项 7,用户可以使用 SPI 菜单退出电机控制。

按#9 主动电流限制控制

  • 使用 SPI 的主动电流限制控制有三个选项:

    • 按 #1 启用主动电流限制
      通过按选项 1,用户可以启用主动电流限制 I。
    • 按 #2 禁用主动电流限制
      通过按选项 2,用户可以禁用主动电流限制。
    • 按#3设置有功电流限制
      通过按选项 3,用户可以设置有功电流限制(0 到 3)。

按#10 输入模式控制

  • 输入模式控制有两种选择:

    • 按#1进入H桥控制模式
      通过按下选项 1,用户可以启用 H 桥控制模式。
    • 按#2进入半桥控制模式
      通过按选项 2,用户可以启用半桥控制模式。

按#11设置SPI的SlewRate

通过按选项 11,用户可以设置 SlewRate 值(0 到 7)。

按#12 输出启用控制

  • 输出使能控制有四个选项:

    • 按#1 使用 SPI 启用输出
      通过按下选项 1,用户可以使用 SPI 将 ENBL 引脚设置为高电平
    • 按#2 使用SPI禁用输出
      通过按下选项 2,用户可以使用 SPI 将 ENBL 引脚设置为低电平。
    • 按#3 使用GPIO启用输出
      通过按下选项 1,用户可以使用 GPIO 将 ENBL 引脚设置为高电平。
    • 按#4 使用GPIO禁用输出[睡眠模式]
      通过按下选项 2,用户可以使用 GPIO 将 ENBL 引脚设置为低电平。

按#13 禁用控制

  • 禁用控制有两个选项:

    • 按#1 将禁用引脚设置为高电平[待机模式]
      通过按下选项 1,用户可以将 DIS 引脚设置为高电平。
    • 按 #2 将禁用引脚设置为低
      通过按下选项 2,用户可以将 DIS 引脚设置为低。

按#14 读取反馈电

通过按选项 14,用户可以读取 ADC 计数值以获取费用返还电流。

按 #15 使用 DIS/ENB 重置

  • 使用 DIS/ENB 重置有两个选项:

    • 按#1 使用 ENBL 引脚重置
      通过按下选项 1,用户可以通过切换 ENBL 引脚来重置(短路或过热情况)。
    • 按 #2 使用 DIS 引脚重置
      通过按下选项 2,用户可以通过切换 DIS 引脚来重置(短路或过热情况)。

按#16 热管理控制

  • 热管理控制有两种选择:

    • 按#1 启用热管理
      通过按下选项 1,用户可以启用热管理(OT 警告时 ILIM 降额至 ILIM/2)。
    • 按 #2 禁用热管理
      通过按选项 2,用户可以禁用热管理(从一开始 ILIM 降额至 ILIM/2)。

按#17 检查负载控制是否打开

  • 检查开路负载控制有两个选项:

    • 按#1 启用检查开路负载
      通过按下选项 1,用户可以在从待机模式转换到正常模式时启用开路负载检查。
    • 按#2 禁用检查开路负载
      通过按选项 2,用户可以禁用从待机模式转换到正常模式时对开路负载的检查。

5.了解局限性

  • 我们需要使用跳线在 HB2002 板上进行一些手动连接。
    • 对于FRDMMCXN947

    • 对于FRDMMCXA153

6. 常见问题解答

“尚未发现针对该项目的常见问题解答”。

7. 支持

项目元数据

董事会徽章 董事会徽章

类别徽章

周边徽章 周边徽章 周边徽章 周边徽章

工具链徽章

来源:恩智浦appcodehub

恩智浦

恩智浦

恩智浦半导体创立于2006年,其前身为荷兰飞利浦公司于1953年成立的半导体事业部,总部位于荷兰埃因霍温。恩智浦2010年在美国纳斯达克上市。恩智浦2010年在美国纳斯达克上市。恩智浦半导体致力于打造全球化解决方案,实现智慧生活,安全连结。

恩智浦半导体创立于2006年,其前身为荷兰飞利浦公司于1953年成立的半导体事业部,总部位于荷兰埃因霍温。恩智浦2010年在美国纳斯达克上市。恩智浦2010年在美国纳斯达克上市。恩智浦半导体致力于打造全球化解决方案,实现智慧生活,安全连结。收起

查看更多

相关推荐